基本参数

| 名称 | 【压缩弹簧】康明斯CUMMINS柴油机的3092078 压缩弹簧 |
| 相关机型 | QSK23 |
| 品质 | OEM/aftermarket |
| ID号 | V95-C5X-7G5 |
| 价格 | 授权可见 点击询价 |
| 主要用途 | 康明斯柴油机用的压缩弹簧[详细说明>>] |
详细说明
打印本页
【压缩弹簧】康明斯CUMMINS柴油机的3092078 压缩弹簧
相关参数和图片:
| 研发时间 | 部分用途 | 产品名称 |
| 08年SEP | QSK23 CM500 | Spring, Compression |
| ||
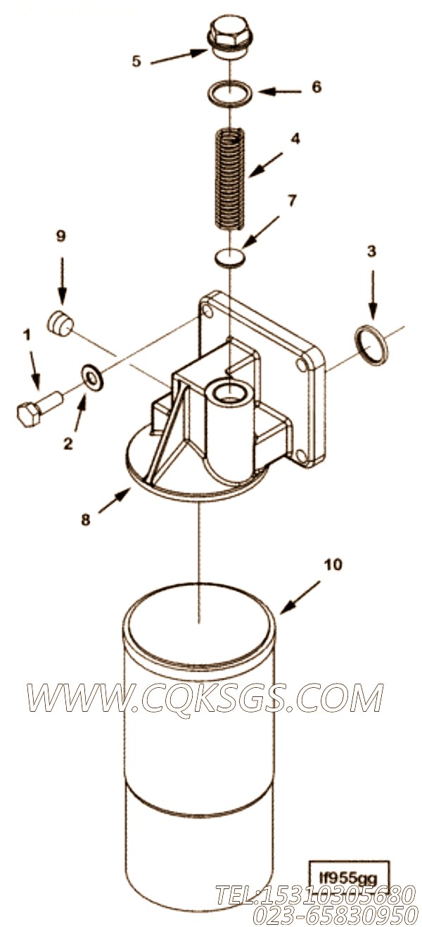
| 图号 | ID号 | 零件名称 | 一般装配量 | 销售(是/否) | 订购链接 |
| 3889381 | 贴花 | 4 | 否 | ||
| LF5064-07 | 全流式机油滤清器 | 否 | |||
| 1 | 3064106 | 六角头螺栓 | 7 | 是 | 订购 |
| 2 | 3092438 | O 形密封圈 | 2 | 是 | 订购 |
| 3 | 3092834 | 过滤器支架 | 1 | 是 | 订购 |
| 4 | 3092837 | 连接支架 | 1 | 是 | 订购 |
| 5 | 3093018 | 盖板 | 1 | 是 | 订购 |
| 6 | 3093019 | 金属扣环密封件 | 2 | 是 | 订购 |
| 7 | 3093025 | 滤管 | 1 | 是 | 订购 |
| 8 | 3093026 | 滤管 | 1 | 是 | 订购 |
| 9 | 3093747 | 六角头螺栓 | 6 | 是 | 订购 |
| 10 | 3093805 | 六角法兰头螺丝 | 2 | 是 | 订购 |
| 11 | 3093808 | O 形密封圈 | 2 | 是 | 订购 |
| 12 | 3093809 | O 形密封圈 | 3 | 是 | 订购 |
| 13 | 3093811 | O 形密封圈 | 1 | 是 | 订购 |
| 14 | 3093896 | 六角头螺栓 | 4 | 是 | 订购 |
| 15 | 3093932 | 六角法兰头螺丝 | 2 | 是 | 订购 |
| 16 | 3918190 | 密封垫圈 | 1 | 是 | 订购 |
| 17 | 3093971 | 螺塞 | 1 | 是 | 订购 |
| 18 | 3094345 | O 形密封圈 | 3 | 是 | 订购 |
| 3094663 | 滑油过滤器头 | 1 | 是 | 订购 | |
| 19 | 200819 | 绕道光盘 | 4 | 是 | 订购 |
| 3089238 | 螺塞 | 2 | 是 | 订购 | |
| 20 | 3089239 | 螺塞 | 1 | 是 | 订购 |
| 21 | 3089240 | O 形密封圈 | 1 | 是 | 订购 |
| 22 | 3092078 | 压缩弹簧 | 4 | 是 | 订购 |
| 23 | 3092582 | 盖板 | 1 | 是 | 订购 |
| 24 | 3093041 | 滤清器座连接件 | 4 | 是 | 订购 |
| 25 | 3093744 | 六角头螺栓 | 4 | 是 | 订购 |
| 26 | 3094123 | 滑油过滤器头 | 1 | 是 | 订购 |
| 27 | 3094042 | 螺塞 | 4 | 是 | 订购 |
| 28 | 3094129 | O 形密封圈 | 2 | 是 | 订购 |
| 29 | 3094836 | 密封垫圈 | 4 | 是 | 订购 |
| 30 | 3335076 | 锥垫圈 | 4 | 是 | 订购 |
| 3678921 | 螺塞 | 1 | 是 | 订购 | |
| 31 | 3678912 | O 形密封圈 | 1 | 是 | 订购 |
| 32 | 3678922 | 螺塞 | 1 | 否 | |
| 3678923 | 螺塞 | 2 | 是 | 订购 | |
| 33 | 3678924 | 螺塞 | 1 | 否 | |
| 34 | 3678925 | O 形密封圈 | 1 | 是 | 订购 |
| 3094790 | 输油连接 | 1 | 是 | 订购 | |
| 35 | 3094028 | 膨胀塞 | 2 | 是 | 订购 |
| 36 | 3094789 | 输油连接 | 1 | 否 | |
| 37 | 3094793 | 输油连接 | 1 | 是 | 订购 |
| 38 | 3094813 | 六角法兰头螺丝 | 3 | 是 | 订购 |
| 39 | 3094814 | 六角法兰头螺丝 | 1 | 是 | 订购 |
| 40 | 3094815 | 六角法兰头螺丝 | 2 | 是 | 订购 |
| 41 | 3889310 | 机油滤清器滤芯 | 4 | 是 | 订购 |
| 42 | 3925344 | 六角法兰头螺丝 | 7 | 是 | 订购 |
| 30 | 3335076 | 锥垫圈 | 12 | 是 | 订购 |
客服中心
- 15042863601296015135
- 销售热线:023-65830950
- 传真号码:023-65830951
- 业务手机:15310305680
- 电子邮箱:foros@qq.com
栏目列表
推荐康明斯配件
- 60408定位销,用于康明斯NTA855-
- 400540后盖垫片,用于康明斯NT855
- 68138阳性管接头,用于康明斯NTA85
- 3028252圆柱销,用于康明斯M11-C
- 【发动机EQB225-20的发电机驱动件组
- 70704垫圈,用于康明斯KTA19-M5
- 215090缝隙密封圈,用于康明斯NT85
- 186917抱箍,用于康明斯NTA855-
- 43828A软管卡箍,用于康明斯NTA85
- 3046869放油塞,用于康明斯NTA85
- 208326抱箍,用于康明斯NTA855-
- S602平垫圈,用于康明斯KTTA19-G
- 3014304矩形密封圈,用于康明斯KTA
- 3013786管塞,用于康明斯NTA855
- 3038903摇臂轴堵塞,用于康明斯NTA
- 3001305水管接头衬垫,用于康明斯KT
- 3007634碗型塞,用于康明斯NT855
- 3202117衬垫,用于康明斯NTA855
- 3025460管塞,用于康明斯KTA19-
- 204165螺栓,用于康明斯NTA855-
- 127362平垫圈,用于康明斯KTA19-
- 3000521O型密封圈,用于康明斯NTA
- 3010597带垫螺栓,用于康明斯KTA1
- 3033038带垫螺栓,用于康明斯KTA1
- 3013786管塞,用于康明斯NT855-

