基本参数

详细说明
打印本页
【燃油滤清器盖】康明斯CUMMINS柴油机的3915238 燃油滤清器盖
相关参数和图片:
| 研发时间 | 部分用途 | 产品名称 |
| 96年DEC | ISD4.5 CM2150,B5.9 LPG Plus CM556,G5.9,ISB 5.9 G CM2180,B4.5s,ISF3.8 CM2220 AN,ISB6.7 CM2250,B4.5 RGT,ISB CM800,QSB5.9-44 CM550,B5.9 G,G3.9,ISBe4 CM850,ISD6.7 CM2150,ISD6.7 CM2150 SN,QSB6.7 CM2250,QSB3.9-30 CM550,QSB5.9-30 CM550,B Gas Plus CM556,B6.7s,ISB CM2150,ISD4.5 CM2150 SN,ISB CM850,B LPG Plus CM556,B4.5,B3.9,ISF2.8 CM2220 AN,ISB6.7 CM2150 SN,QSB6.7 CM850,ISBe4 CM2150,G5.9 CM558,ISB6.7 CM2150 SQ,ISB4.5 CM2150 SN,ISB CM550,QSB5.9 CM850,B Gas International CM556,QSB4.5-30 CM550,ISBe CM800,ISBe5 CM2150 SN,QSB4.5 CM850,B5.9,ISBe CM850 | Head, Fuel Filter |
| ||
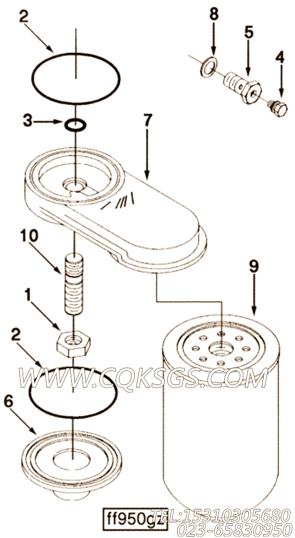
| 图号 | ID号 | 零件名称 | 一般装配量 | 销售(是/否) | 订购链接 |
| FF9092 | 燃油滤清器 | 否 | |||
| 1 | 3903293 | 正六边形果酱螺母 | 1 | 是 | 订购 |
| 2 | 3903546 | O 形密封圈 | 2 | 是 | 订购 |
| 3 | 3903846 | O 形密封圈 | 1 | 是 | 订购 |
| 3905860 | 班卓琴接头螺丝 | 1 | 是 | 订购 | |
| 4 | 3905403 | 螺钉 | 1 | 是 | 订购 |
| 5 | 3911446 | 班卓琴接头螺丝 | 1 | 是 | 订购 |
| 6 | 3915031 | 滤头盖 | 1 | 是 | 订购 |
| 3915240 | 燃油过滤器头 | 1 | 是 | 订购 | |
| 7 | 3915238 | 燃油过滤器头 | 1 | 是 | 订购 |
| 3915242 | 球 | 1 | 否 | ||
| 8 | 3918191 | 密封垫圈 | 1 | 否 | |
| 9 | 3925274 | 燃油过滤器 | 1 | 是 | 订购 |
| 10 | 3925955 | 滤清器座连接件 | 1 | 是 | 订购 |
客服中心
- 15042863601296015135
- 销售热线:023-65830950
- 传真号码:023-65830951
- 业务手机:15310305680
- 电子邮箱:foros@qq.com
栏目列表
推荐康明斯配件
- 【柴油机B210 33的水泵组】 康明斯水
- 110266六角螺栓,用于康明斯NT855
- 3165835弯接头,用于康明斯NTA85
- 3072919增压器衬垫,用于康明斯M11
- 3328760衬垫,用于康明斯M11-31
- 3013786管塞,用于康明斯KTA19-
- 3022474水泵总成,用于康明斯NT85
- 3013786管塞,用于康明斯KTA38-
- 3899667软管,用于康明斯M11-35
- 【柴油机6CT8.3-GM129的摇臂组】
- 65259C调整垫片,用于康明斯NTA85
- 3007634碗型塞,用于康明斯NT855
- 3811995发动机连杆,用于康明斯KTA
- 70704垫圈,用于康明斯KTA19-C5
- S608弹簧垫圈,用于康明斯NTA855-
- 【发动机6CT8.3-G的节温器座组】 康
- 【噪音隔绝】康明斯CUMMINS柴油机的3
- 178079单向阀,用于康明斯KTA38-
- 3003353油封,用于康明斯KTA38-
- S103A六角螺栓,用于康明斯KTA19-
- S608弹簧垫圈,用于康明斯NTA855-
- 3032187气缸体,用于康明斯NT855
- 3012479带垫螺栓,用于康明斯NTA8
- S609弹簧垫圈,用于康明斯KT38-G-
- 3014711发电机皮带轮,用于康明斯KT

