基本参数

详细说明
打印本页
【进水连接】康明斯CUMMINS柴油机的4928144 进水连接
相关参数和图片:
| 研发时间 | 部分用途 | 产品名称 |
| 06年OCT | QSK60G,QSK60 CM850 MCRS,QSK60 CM2150 MCRS,QSK60 CM500 | Connection, Water Inlet |
| ||
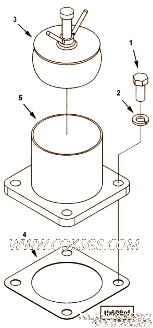
| 图号 | ID号 | 零件名称 | 一般装配量 | 销售(是/否) | 订购链接 |
| TB6856 | Connection,Aux Clg Inlet | 否 | |||
| 1 | S 109 | 六角头螺栓 | 4 | 是 | 订购 |
| 2 | S 604 | 锁紧垫圈 | 4 | 是 | 订购 |
| 3 | 3637979 | 孔板插头 | 1 | 是 | 订购 |
| 4 | 4006795 | 接头密封垫 | 1 | 是 | 订购 |
| 5 | 4928144 | 进水连接 | 1 | 是 | 订购 |
客服中心
- 15042863601296015135
- 销售热线:023-65830950
- 传真号码:023-65830951
- 业务手机:15310305680
- 电子邮箱:foros@qq.com
栏目列表
推荐康明斯配件
- 112196空滤器箍带,用于康明斯NT85
- 【燃油泵电磁阀】康明斯CUMMINS柴油机
- 【C104296】直软管 用在康明斯发动机
- 3008832输水管接头衬垫,用于康明斯K
- 3025460管塞,用于康明斯KTA19-
- 204163水滤器座,用于康明斯NT855
- S604弹簧垫圈,用于康明斯NTCR-29
- 3820666软管,用于康明斯M11-C3
- 3000446油门盖板,用于康明斯KTA1
- 207442燃油管路联接,用于康明斯KTA
- 3008466管塞,用于康明斯ISM320
- 3040813螺塞,用于康明斯KTTA19
- 68645阳性连接弯管,用于康明斯KTA1
- S604弹簧垫圈,用于康明斯KTA19-P
- 3165981弹簧垫圈,用于康明斯NT85
- AS6042SS软管,用于康明斯KTA19
- 3003536增压器回油弯管,用于康明斯K
- 3074400衬垫,用于康明斯NTA855
- 3008861水管接头,用于康明斯KTA1
- S609弹簧垫圈,用于康明斯KTA19-G
- 143950阳性接头,用于康明斯KTTA1
- 【膨胀塞】康明斯CUMMINS柴油机的17
- 3046200爪式联轴节缓冲片,用于康明斯
- 152547接头,用于康明斯NTA855-
- 3031734转速表,用于康明斯NTA85

